必威手机网页版下载官网核心代理商——必威app精装版下载安卓版官网
网站首页 58必威 AC空压机 必威手机网页版下载官网 空气后处理设备 空压机应用案列 必威APP新版本下载 58必威苹果 联系我们

阿特拉斯·科普柯空压机 0512-62910301

公司总部:苏州市高新区联港路 上海营销:上海市松江区宝胜路 工厂地址:无锡市新吴区长江路 电话咨询,会安排区域人员联系

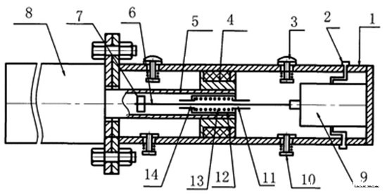
简述往复式压缩机工作原理

作者: 必威手机网页版下载官网 时间:2020.12.21 浏览量:3198

往复式压缩机是指通过气缸内活塞或隔膜的往复运动使缸体容积周期变化并实现气体的增压和输送的一种压缩机。属容积型压缩机。根据作往复运动的构件分为活塞式和隔膜式压缩机。

往复式压缩机工作原理

依靠气缸工作容积周期性的变化来压缩气体,以达到提高工作压力的目的。(活塞在气缸内的往复运动造成减压将气体吸入,继而将气体压缩至一定压强而将它送出)活塞式压缩机的工作原理。


压缩机是用以将低压力的气体压缩至高压力的机器,在完成这项任务时,多采用逐次的多级压缩,每级气缸中都有相同的吸气、压缩和排气过程。

1、压缩机的理论循环

气体在气缸内的理论循环,具有以下特点,即压缩机在吸气、排气时,不存在进排气阀处的压力损失,进排气过程压力处保持恒压,压缩过程指数量是一个定值,故气体在压缩时与气缸壁等处皆不发生热脚换,缸内不存在余隙容积以贮留小部分高压气体,全部气体均能排出气缸外。

2、压缩机的实际循环

有余隙容积,在压力比和膨胀指数相同的条件下,相对余隙容积增大,容积减小。一般为了提高容积效率,余隙容积要尽量减小些。

以上就是上海博莱特小编整理的往复式压缩机工作原理方面内容,如果您还有什么往复式压缩机工作原理方面的内容可以直接和我们联系!

上一篇:2020年,压缩机行业的变与不变
下一篇:阿特拉斯·科普柯专业租赁部推出全新变压吸附式制氮机
网站首页 365必威 必威手机网页版下载官网 空气后处理设备 58必威苹果 上海博莱特压缩机 365必威
Baidu
map